Ingredientes para máquina de blocos de tijolos

Máquina de dosagem da série PLD


Para projetos de construção, estradas e pontes


Modelo PLD800 para Máquina de Blocos e Tijolos - Ingredientes


Descarga central para condições húmidas


Tela basculante patenteada (longa vida útil)


Descarga por correia com pesagem precisa


Detalhes do produto

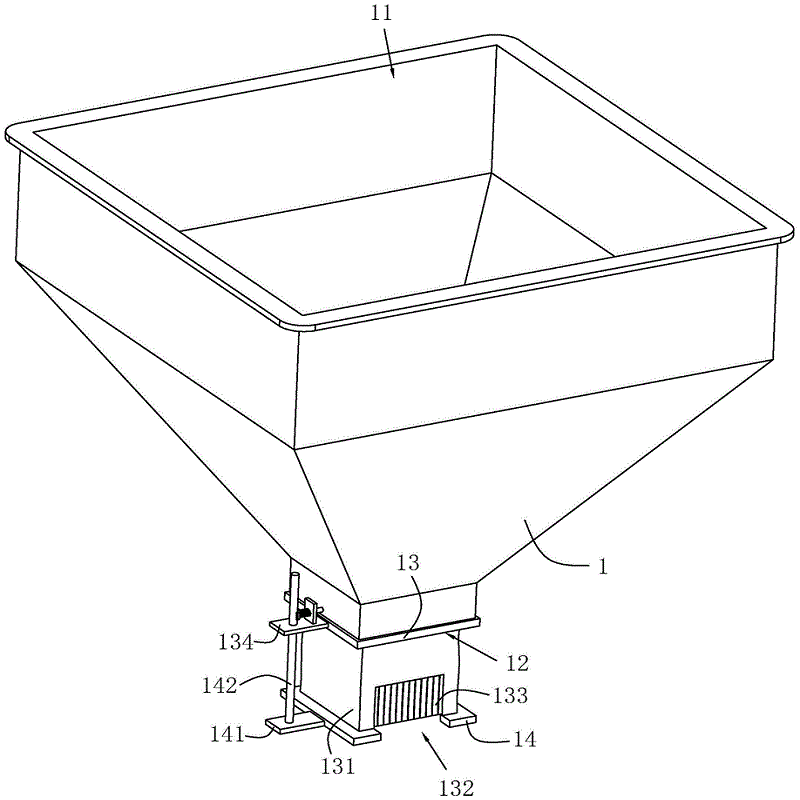
1. Gestão de silos de matéria-prima refinada

É utilizado um sistema de armazenamento compartimentado, com cada silo dedicado a uma matéria-prima específica para evitar a contaminação cruzada entre diferentes materiais.

Um dispositivo de monitorização do nível de material (como um medidor de nível por radar) está instalado para monitorizar em tempo real a matéria-prima restante no silo, garantindo o reabastecimento atempado e evitando o transbordamento.

Ingredientes para máquina de blocos de tijolos

2.º Controlo quantitativo da alimentação

Cada saída do silo está equipada com um dispositivo de alimentação quantitativa independente (como um transportador helicoidal ou uma balança de correia) para obter uma dosagem precisa de uma única matéria-prima.

Um sistema de controlo em malha fechada utiliza uma célula de carga para fornecer feedback sobre a quantidade real de alimentação. A velocidade do dispositivo é ajustada automaticamente após comparação com o valor definido, garantindo um erro de rácio dentro de ±0,5%.

3. Transporte de inertes multimateriais

As matérias-primas provenientes de cada dispositivo de alimentação quantitativa são transportadas para o equipamento de mistura através de uma correia convergente ou de um transportador raspador. É mantida uma velocidade de transporte uniforme durante todo o processo para evitar a acumulação ou a quebra do material.

Número de série

nome

Especificação

quantidade

unidade

1

PLD1200

Armazém de armazenamento de matéria-prima

4m³

2

indivual

Tela tremendo

2800*2500

1

indivual

Caixa de pesagem

0,8㎡

1

indivual

sensor

ZMLBF-1000

3

indivual

Motor

2,2 kW

2

torre

Motor de vibração de cascalho

2,2 kW

1

torre

Esteira transportadora

B500

3

faixa

Moldura

Estrutura de aço

1

conjunto


Deixe suas mensagens

Produtos relacionados

x

Produtos populares

x
x